感受一場來自23年前的技術碾壓:1996年聚合物鋰離子電池仿真技術
作為一名聚合物鋰離子電池愛好者,最近在學習的過程中看到一篇來自1996年的文章,感受到了一場來自23年前的技術碾壓!
這篇文章是由美國勞倫斯伯克利國家實驗的Marc Doyle等人在1996年發表的,主要探討了LixC6/LiyMn2O4體系的仿真研究,要知道聚合物鋰離子電池在1991年才由索尼公司首次推向市場,在產品設計上仍然有許多的不足,傳統的實驗需要消耗大量的材料和時間,因此當時Marc Doyle等人通過計算機模擬仿真的方式提高實驗效率,降低研發成本,這一研究在當時算得上是前沿技術了。
實驗中采用的體系為LixC6/LiyMn2O4,而非當時流行的LixC6/LiyCoO2,這主要是出于成本方面的考慮,電解液則采用了塑化聚合物作為支撐結構,其中填充碳酸酯溶劑和鋰鹽(類似目前的凝膠聚合物鋰離子電池)。
電池的結構可以用下圖所示的模型進行表征,可以看到電池主要由多孔的正極、負極,液態電解質和聚合物支撐結構構成。其中電解液主要由支撐結構的聚合物、LiPF6和EC、DMC溶劑等成分構成,按照濃溶液理論,描述這樣的一個復雜電解液體系則至少需要10個獨立的參數,1個電導率、6個擴散系數和3個傳遞系數,然而在實驗中測量如此多的參數是不現實的,我們僅能夠獲得電解液的電導率、溫度和溶劑比例等參數。

根據測量,當EC/DMC=2:1,環境溫度為25℃時,該電解液的電導率與鹽濃度的關系可以用下式進行表達。

如果我們將EC/DMC的比例調整為1:2時,則電解液的電導率表達式就轉變為下式,其中c為鋰鹽濃度,需要指出的這里的鋰鹽濃度指的是包含全部體積的濃度,其中起到支撐結構的聚合物占到了全部電解液體積的0.276。

下圖為根據上面的兩種電導率計算公式得到的計算數據與實際實驗測試得到得電解液電導率與濃度之間的關系,可以看到計算結果與實際數據復合的比較好。

在電子導電率方面我們通常認為石墨負極具有非常優異的導電性能,而正極材料為金屬氧化物,因此導電性能較差,因此正極的電子導電率更多的依賴于導電劑,根據測量在25℃下,多孔正極在放電狀態下的電導率為6.0×10-3S/cm,Li在氧化物電極中的擴散系數約為1.0×10-9cm2/s,而實驗中采用的大阪燃氣的中間相碳微球(MCMB)在當時還沒有Li擴散系數數據。
聚合物鋰離子電池全電池的熱力學和動力學參數主要包含交換電流密度、每個半反應的擴散系數,電池開路電壓,其中電池的開路電壓測量可以采用小電流放電(60h)的方式獲得。而電解液的活度系數由于難以測量,因此作者在這里假設電解液為理想溶液,而電極表面的電荷交換速度很快,而Li在電極材料中的擴散很慢,這也造成了嵌入反應的動力學參數難以測量。聚合物鋰離子電池中各個材料參數如下表1和2所示。

話不多說,我們直接來看模型的效果,下圖為電池1在25℃時,不同倍率的放電曲線(該電池采用的電解液為2mol/L的LiPF6,溶劑配比為EC/DMC=1:2),其中下圖中的點為實驗數據,虛線為擬合結果,實線為擬合時考慮了聚合物鋰離子電池的接觸電阻(97.345Ω/cm2)。在聚合物鋰離子電池中由于在首次充放電中會在負極表面發生較多的副反應,因此正、負極的初始SoC狀態很難確定,因此作者通過對小電流充放電曲線進行擬合的方式獲得正負極的SoC數值。
石墨負極的Li擴散系數作者也同樣采用了擬合的方式獲得,通過對實驗數據的擬合發現當負極的擴散系數為3.9×10-10cm2/s時能夠獲得最好的擬合結果。從下圖我們也能夠看到,相比于虛線,實線的擬合效果更好,這表明考慮接觸電阻能夠提升模擬的準確度,而對于接觸阻抗的來源,一種可能性是來自于電極與集流體之間的接觸阻抗,一種可能性來自于電極的面電阻。

在下圖中作者還驗證了不同接觸阻抗(900和1100Ω/cm2)對于擬合結果的影響,其中實線為接觸阻抗為1100Ω/cm2時的擬合結果,虛線為接觸阻抗為900Ω/cm2時的接觸阻抗,從圖中能夠看到在阻抗為1100Ω/cm2時,在高倍率下的擬合結果準確度大大提升,在低倍率下的擬合結果稍差,這表明接觸阻抗是引起聚合物鋰離子電池極化的重要原因。

接下來,我們來看電池2的擬合效果,電池2在設計上與電池1大部分相似,僅在電極厚度和電解液配比上有區別,其中電池2的電解液為1mol/L的LiPF6,EC/DMC=2:1,電池1模擬中的參數大部分也可以直接用在電池2中,其中電池2的負極面電阻設定為700Ω/cm2,實驗結果與擬合結果如下圖所示。從圖中能夠看到對于電池2而言,仿真數據與實驗數據擬合的非常好。對于電池2的擬合也同樣發現歐姆阻抗和面阻抗是造成電池極化的主要原因,但是電池2由于電解液的鋰鹽濃度較低,因此在較大的放電倍率下還出現了濃差極化增加的情況。

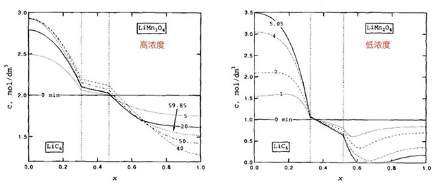
模型的好處不僅僅是對電池的表觀數據(電壓、電流)進行仿真,還能夠讓你獲得一些無法通過實驗得到的數據。例如下圖,我們可以通過模型獲得不同倍率下聚合物鋰離子電池放電過程中電解液中的鋰鹽濃度的變化數據,從模型獲得的結果可以看到在高濃度下雖然也會產生濃度梯度,但是這種濃度梯度較小,但是在較低的濃度下,我們能夠發現在大電流放電時正極一側的鋰鹽濃度在短時間內就下降到了0,因此在低濃度鋰鹽中大倍率放電時擴散限制也是引起電池極化增加的重要原因。

模型研究帶來的好處是顯而易見的,通過建立仿真模型我們不僅僅能夠對于聚合物鋰離子電池表觀的一些電壓、電流等參數進行模擬,還能夠獲得我們無法通過實驗獲得的數據,對于指導聚合物鋰離子電池的設計和生產,降低工作量、提升工作效率具有重要的意義。1996年,聚合物鋰離子電池剛剛商業化后數年的時間,整個聚合物鋰離子電池行業還處于探索的初期,科研工作者就已經通過現在看來略顯簡陋的模型對聚合物鋰離子電池進行了模擬仿真,對于推動聚合物鋰離子電池產業的發展起到了重要的作用,而在23年后的今天,在所有的工具都已經如此完善的情況下,我們一定能夠將模擬這一工具運用的更好。
本文鏈接:http://m.ipodev.com{dede:field.arcurl/}
諾信新聞,諾信公司新聞,鋰電池行業新聞,展會新聞






